Lenkzwischenhebellager

Aus /8-KnowHow
Zur Navigation springenZur Suche springen

Vorab ein wichtiger Hinweis:
Dieser Artikel stellt lediglich eine grundsätzliche Funktionsbeschreibung sowie potentielle Gefahrstellen eines kritischen Segments der Lenkung dar. Er ist KEINE Reparaturanleitung.
Reparaturen am gesamten Lenkungssystem – also auch in diesem Teilbereich - dürfen nur von dafür fachlich voll Qualifizierten vorgenommen werden.


1) Konstruktion

Ein relativ verborgenes Teil der Lenkung im /8 ist das Lenkzwischenhebellager und seine Montage im Zapfenlager.
Das Lenkzwischenhebellager besteht aus einem maß- und passgenau in den Rahmenlängsträger eingeschweißten rohrförmigen Zapfenlager, welches das eigentliche Lenkzwischenhebellager , aka Lenkkopflager (A) aufnimmt.
Es lagert den Lenkzwischenhebel (B), welcher die Lenkungsbetätigung (beim Linkslenker) von der Mittelspurstange (C) auf die äußere Spurstange (D) zum rechten Vorderrad überträgt.
Es sitzt (beim Linkslenker) rechts hinter dem Auspuffkrümmer.

Hierzu zwei Fotos (Quelle: Michael aus Köln) die das illustrieren:

Hier eine Draufsicht bei ausgebautem Motor. Die Buchstaben sind entsprechend dem vorherigen Bild.


Und hier noch ein Foto eines intakten Zapfenlagers mit Lenkzwischenhebellager:



Kritische Schadensmuster:

2) Lenkzwischenhebellager (A)

Das Lenkkopflager kann im Laufe der Jahrzehnte schwergängig werden.
Das führt zu höheren Lenkkräften als normal – und es belastet auch das Zapfenlager mechanisch stärker.
Auch kann es zu knarzenden oder quietschenden Geräuschen kommen.
Es gibt von MB einen Reparatursatz A1264600819für das Lager:

Im Markt werden auch entsprechende Reparatursätze angeboten; dabei sollte man nicht auf die billigsten Angebote zugreifen; zumal der MB-Reparatursatz mit ca. EUR 38 (Sept. 2020) relativ erschwinglich ist.

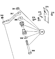
Hier ein Bild seiner Komponenten (Nr. 270 im Bild):

Der Austausch muss von Qualifizierten durchgeführt werden.
Eine Fahrwerksvermessung ist nach dem Tausch des Gummilagers nur notwendig, wenn bei ausgeschlagenem Lager zuvor verstellt wurde.
Wichtig ist die richtige Position der Beilagscheiben (Unterschied Servo und ohne) damit die sogenannte Kugelpunktlage stimmt.


3) Zapfenlager

Je nach äußeren Umwelt- und Betriebsbedingungen kann das Zapfenlager in seiner Karosseriehalterung oder auch entlang seines Rohrstückes rosten.
Die Gefahr hierfür steigt auch mit dem Alter des Autos. Die Rohre faulten „gerne“ durch, u.a. weil die Schelle für ihr Hitzeschild genau das Abflussloch verdeckte.
Der Rost kann die erforderliche mechanische Festigkeit des Zapfenlagers so schwächen, dass es sich bei Lenkbewegungen verbiegt oder ganz bricht.
Im ersteren Fall merkt man es daran, dass die Lenkung „schwammig“ und ungenau wird; es kann sich sogar die Positionierung des Lenkrades verstellen (eigene Erfahrung des Autors an einem 220D, der in den 80-er Jahren auch bei Schnee und gesalzenen Straßen betrieben wurde).
So ein Zustand macht das Auto absolut fahruntüchtig, es darf nicht mehr gefahren werden, denn die Betriebssicherheit der Lenkung ist akut gefährdet.

Im schlimmsten Fall bricht das Zapfenlager – was zum Ein- oder Ausklappen der Vorderräder führen kann – das Auto ist dann während der Fahrt nicht mehr lenkbar und kann unkontrollierbar ausbrechen.
Hier zwei Bilder eines angerosteten und eines wegen Durchrostung abgebrochenen Zapfenlagers:



Es ist technisch möglich, defekte Zapfenlager zu reparieren.
Dies ist allerdings kritisch und aufwändig, da es hierbei auf eine maßgerechte Einpassung des Zapfenlagers und absolut fachmännisch durchgeführte Schweißarbeiten ankommt.

Die Zapfenlagerung für den Lenkzwischenhebel gibt es von MB als normales Ersatzteil, aber auch als Reparaturteil:

A1154600738 ist das Originalteil, aktueller Preis bei Mercedes 88 Euro (Stand Mai 2025).

A1154600838 ist das Reparaturteil, bei Mercedes 183 Euro (Stand Mai 2025).

Im /8-Forum gibt es Meinungen, dass man gleich das Originalteil einsetzen sollte, zumal es auch billiger als das Reparaturteil ist.
Beim Originalteil muss das defekte Zapfenlager komplett aus der Karosserie herausgetrennt und neu eingesetzt und verschweißt werden.
Beim Reparaturteil wird das Zapfenlager abgesägt und das verbliebene Original-Rohrstück eingeschoben und verschweißt, dazu ist das Rohr des Reparaturteils auf halber Länge vom Durchmesser kleiner und passt in die im Längsträger verbliebene Originalrohr-Hülse.

Unabhängig ob Original- oder Reparaturteil muss dieses passgenau eingesetzt werden.
Jedwede Art von geeigneter Lehre fixiert das Zapfenlager passgenau bezüglich seiner Neigung und seines Abstands zum Längsträger, bevor es eingeschweißt wird.
Ansonsten kann die nachfolgend erforderliche korrekte Spureinstellung beeinträchtigt sein.
Die Verwendung einer geeigneten Rahmenlehre ist z.B. ein zuverlässiger Ansatz zur Reparatur.


All dies ist eine Arbeit für qualifizierte Fachleute, die mit diese Materie beherrschen und auch qualifizierte Schweißarbeiten ausführen können.

Hier ein Foto, das den Ansatz der Rahmenlehre und den Einsatz eines Original-Zapfenlagers an einem Restaurationsobjekt zeigt:


Die Firma Autoteile Gauner bietet Zapfenlager mit einer Leihmöglichkeit für eine passende Rahmenlehre an.
Siehe dazu auch diesen Kommentar aus Juli 2010.

Es gibt im /8-Forum auch fachkundige Kollegen, welche die Zapfenlagerreparatur ohne Lehre, aber mit vorheriger genauer Vermessung (fallweise an einem intakten Vergleichsauto) durchgeführt haben.
Das ist dann aber eine Sache für versierte Vermessungs-Spezialisten und Karosseriebauer.
MB hat angeblich auch Lehren, deren Positionierung vom Lenkgetriebe ausgehen.


4) Fazit

Wie man/frau sieht, ist das Thema relativ kompliziert und vielschichtig.
Es konnte und sollte daher hier nur so weit behandelt werden, dass eben dieses aufgezeigt wird.
Auf jeden Fall sind Reparaturarbeiten am Zapfenlager nur durch dafür Qualifizierte vorzunehmen, die maßgenaue Passungen bzw. Einstellungen sowie einwandfreie und zuverlässige Schweißarbeiten durchführen können.


Der Forumskollege „Strichachter“ kann ein trauriges Lied davon singen, wie sehr eine vom Vorbesitzer verpfuschte (und vom Verkäufer verschwiegene) „Reparatur“ des Zapfenlagers große Probeme verursachte.
Sein zusammenfassender Bericht dazu unter diesem Link: Zapfenlager - das gute Ende !!!.


5) Quellen

Der Beitrag wurde aus diversen Threads zum Thema entwickelt:
Link 1
Link 2
Link 3
Link 4
Link 5

Der Autor bedankt sich bei der Vielzahl von Forumskollegen, welche die Basis für diesen Beitrag gelegt und auch Fotos dazu verfügbar gemacht haben.

Dieser Beitrag ist nur zur Verwendung innerhalb des Mercedes-Benz /8 Forums zugelassen.




Erstellt von: Helmut 230.6 08:51, 29. Sep. 2020 (UTC), update 05. Mai 2025